Gateway 网关 快速开始
一、核心概念
- 路由(route)
路由是网关中最基础的部分,路由信息包括一个ID、一个目的URI、一组断言工厂、一组Filter组成。如果断言为真,则说明请求的 URL 和配置的路由匹配。
- 断言(predicates)
断言函数允许开发者去定义匹配 Http Request 中的任何信息,比如请求头和参数等。
- 过滤器(Filter)
SpringCloud Gateway 中的 filter 分为 Gateway FilIer和 Global Filter。Filter 可以对请求和响应进行处理。
二、快速开始
假设我们现在有一个父工程 mall4cloud,它有一个子模块 user,现在我们要新建一个网关项目,以便对 user 的路由转发以及后续的认证授权。
 
user 对外提供服务:
// 请求路径为 http://localhost:8020/user/findUserById/1
@RestController
@RequestMapping("/user")
public class UserController {@Value("${server.port}")private String port;@RequestMapping("/findUserById/{id}")public String findUserById(@PathVariable String id) {// 模拟从数据库获取用户Map<String, String> map = new HashMap<>();map.put("1", "小林:"+port);map.put("2", "小王:"+port);return map.get(id);}}
-----------------application.yml-----------------
server:port: 8020spring:cloud:nacos:discovery:username: nacospassword: nacosgroup: DEFAULT_GROUPserver-addr: 127.0.0.1:8848application:name: user-service三、项目搭建
3.1、新建一个子模块 gateway

3.2、引入依赖
<!--Spring Cloud Gateway 网关场景启动器 -->
<dependency><groupId>org.springframework.cloud</groupId><artifactId>spring-cloud-starter-gateway</artifactId>
</dependency>3.3、修改 application.yml
server:port: 8050spring:application:name: api-gatewaycloud:gateway:routes: # 路由数组[路由-就是指定当请求满足什么条件的时候请求转发到哪个微服务]- id: user_route # 当前路由的标识, 要求唯一uri: http://localhost:8020 # 请求要转发到的地址order: 1 # 路由的优先级,数字越小级别越高predicates: # 断言[就是路由转发要满足的条件]- Path=/user-service/** # 当请求路径满足 Path 指定的规则时,才进行路由转发filters: # 过滤器,请求在传递过程中可以通过过滤器对其进行一定的修改- StripPrefix=1 # 转发之前去掉1层路径配置参数,都在 RouteDefinition 类里面:
@Validated public class RouteDefinition {private String id;private @NotEmpty @Valid List<PredicateDefinition> predicates = new ArrayList();private @Valid List<FilterDefinition> filters = new ArrayList();private @NotNull URI uri;private Map<String, Object> metadata = new HashMap();private int order = 0;//...... }
3.4、访问测试
启动 user、gateway,浏览器访问:http://localhost:8050/user-service/user/findUserById/1

请求先到达 gateway 8050,gateway 根据断言 predicates 判断当前请求路径是否满足 Path 指定的规则(匹配以 /user-service/ 开头的任意路径,/user-service/a, /user-service/a/b 都满足要求,但 http://localhost:8050/a/user-service/b 不满足要求),当前请求满足断言规则,请求需要转发到 http://localhost:8020/user-service/user/findUserById/1,在请求转发之前经过 StripPrefixGatewayFilterFactory 过滤器对请求路径进行加工,去掉1层路径,请求变为http://localhost:8020/user/findUserById/1 访问到 UserController#findUserById。
修改一下路径:http://localhost:8050/a/user-service/user/findUserById/1

当前配置存在一个问题:
当我的 user 服务有多个的时候,比如 8020、8021 当前配置无法进行负载均衡的访问。
四、接入 Nacos
4.1、引入 Nacos 依赖
<dependencies><!--Spring Cloud Gateway 网关场景启动器 --><dependency><groupId>org.springframework.cloud</groupId><artifactId>spring-cloud-starter-gateway</artifactId></dependency><!--Spring Cloud Alibaba Nacos 注册中心客户端 --><dependency><groupId>com.alibaba.cloud</groupId><artifactId>spring-cloud-starter-alibaba-nacos-discovery</artifactId></dependency><!-- 新版本的 Nacos 不再依赖 Ribbon --><dependency><groupId>org.springframework.cloud</groupId><artifactId>spring-cloud-loadbalancer</artifactId></dependency>
</dependencies>4.2、修改 application.yml
server:port: 8050spring:application:name: api-gatewaycloud:nacos:discovery: # nacos 注册中心地址username: nacospassword: nacosgroup: DEFAULT_GROUPserver-addr: 127.0.0.1:8848gateway:routes: # 路由数组[路由-就是指定当请求满足什么条件的时候请求转发到哪个微服务]- id: user_route # 当前路由的标识, 要求唯一uri: lb://user-service # 请求要转发到的地址order: 1 # 路由的优先级,数字越小级别越高predicates: # 断言[就是路由转发要满足的条件]- Path=/user-service/** # 当请求路径满足 Path 指定的规则时,才进行路由转发filters: # 过滤器,请求在传递过程中可以通过过滤器对其进行一定的修改- StripPrefix=1 # 转发之前去掉1层路径uri 改为 lb://user-service
user-service 是 nacos 注册的服务名。
lb 表示负载均衡(loadbalance)地访问 user-service。
4.3、启动服务
启动两个 user 服务:user-8020、user-8021


可以通过在 8020 右键-Copy Configuration 配置 VM Options 来启动多个服务实例。
4.4、访问测试
多次访问 http://localhost:8050/user-service/user/findUserById/1
会发现,用户服务在 8020、8021 之间来回切换。

 
五、自动寻找服务
如果请求的路径,是严格按照 网关地址/微服务名/接口的格式,那 yml 配置可以简化为:
server:port: 8050spring:application:name: api-gatewaycloud:nacos:discovery:username: nacospassword: nacosgroup: DEFAULT_GROUPserver-addr: 127.0.0.1:8848gateway:discovery:locator:enabled: true访问的结果没有任何差别。
六、路由断言工厂(Route Predicate Factories)
- 作用
路由断言工厂根据请求的各种属性(如路径、请求方法、请求头、请求参数等)来判断请求是否符合预设的条件。如果请求满足断言工厂定义的条件,那么该请求就会被路由到对应的目标URI。如果不满足,则返回 404。
6.1、基于Datetime类型的断言工厂
6.1.1、AfterRoutePredicateFactory
// 假设我现在时间是:
ZonedDateTime dateTime = ZonedDateTime.now();
System.out.println(dateTime);2025-04-05T15:36:10.158+08:00[Asia/Shanghai]server:port: 8050spring:application:name: api-gatewaycloud:nacos:discovery:username: nacospassword: nacosgroup: DEFAULT_GROUPserver-addr: 127.0.0.1:8848gateway:routes:- id: after_routeuri: lb://user-servicepredicates:- After=2025-04-05T14:36:10.158+08:00[Asia/Shanghai]filters:- StripPrefix=1访问 http://localhost:8050/user-service/user/findUserById/1

- 修改时间
After=2025-04-05T16:36:10.158+08:00[Asia/Shanghai]
当前时间 没有 After 配置的时间,访问 404。
6.1.2、BeforeRoutePredicateFactory
接收一个日期参数(ZonedDateTime),判断请求日期是否早于指定日期。
Before=2025-04-05T16:36:10.158+08:00[Asia/Shanghai] 
 
6.1.3、BetweenRoutePredicateFactory
Between=2025-04-05T14:36:10.158+08:00[Asia/Shanghai],2025-04-05T16:36:10.158+08:00[Asia/Shanghai]6.2、CookieRoutePredicateFactory
# 判断 Cookie 中是否有 token 这个参数
# 且 token 的值要符合 UUID 格式
Cookie=token,^[0-9a-fA-F]{8}-[0-9a-fA-F]{4}-[0-9a-fA-F]{4}-[0-9a-fA-F]{4}-[0-9a-fA-F]{12}$直接请求 http://localhost:8050/user-service/user/findUserById/1

加上 Cookie:

6.3、HeaderRoutePredicateFactory
接收两个参数,Header 字段名和正则表达式。判断请求头中是否具有给定字段名且字段值与正则表达式匹配。
# \d+ 表示数字的正则
Header=X-Request-Id,\d+
6.4、HostRoutePredicateFactory
接收一个参数,主机名模式列表。判断请求的 Host 是否满足匹配规则。
Host=**.somehost.org,**.anotherhost.orgwww.somehost.org 或者 beta.somehost.org 或者 www.anotherhost.org 域名的请求都能匹配。
6.5、MethodRoutePredicateFactory
接收一个参数,判断请求类型是否跟指定的类型匹配。
Method=POSTGET 请求:
POST 请求:

6.6、PathRoutePredicateFactory
接收一个参数,判断请求的URI部分是否满足路径规则列表中的一个。
# {segment} 占位符
Path=/user-service/user/findUserById/{segment}6.7、QueryRoutePredicateFactory
接收两个参数,一个必填的请求参数和一个可选的正则表达式, 判断请求参数是否具有给定名称且值与正则表达式匹配。
# . 表示任意一个字符
- Query=green,gree.请求 http://localhost:8050/user-service/user/findUserById/1?green=greet
 
 6.8、RemoteAddrRoutePredicateFactory
接收一个IP地址段,判断请求主机地址是否在地址段中。
# 假设我本机IP是 192.168.101.2
# /24 表示子网掩码的长度为 24 位
# 范围为 192.168.101.1 到 192.168.101.254
# 去掉网络地址 192.168.101.0 
# 去掉广播地址 192.168.101.255
RemoteAddr=192.168.101.1/24 
6.9、WeightRoutePredicateFactory
接收一个[组名,权重], 然后对于同一个组内的路由按照权重转发。
server:port: 8050spring:application:name: api-gatewaycloud:nacos:discovery:username: nacospassword: nacosgroup: DEFAULT_GROUPserver-addr: 127.0.0.1:8848gateway:routes:- id: user-highuri: http://localhost:8020predicates:- Weight=user,8filters:- StripPrefix=1- id: user-lowuri: http://localhost:8021predicates:- Weight=user,2filters:- StripPrefix=1权重是相对权重。像上面 user 群里,只有 8020、8021 两个服务。它们权重比值 8:2。
则 80%的请求会被路由到 8020。
七、自定义路由断言工厂
假设我们现在有一个断言,它会根据请求头里面有没有我们配置的用户权限,来决定路由转发。
Authorization=user.add,user.get,user.delete,user.updatePOST http://localhost:8050/user-service/user/findUserById/1
Authorization: user.get我们看看在这个场景下,用自定义路由断言工厂怎么来实现。
7.1、步骤
自定义路由断言工厂步骤如下:
- 必须是 Spring 组件 Bean。
- 类必须加上 RoutePredicateFactory 作为结尾。
- 必须继承 AbstractRoutePredicateFactory。
- 必须声明静态内部类,声明属性来接收配置文件中对应的断言的信息。
- 需要结合 shortcutFieldOrder 进行绑定。
- 重写 apply 方法。在 apply 方法中可以通过 exchange.getRequest() 拿到 ServerHttpRequest 对象,从而可以获取到请求的参数、请求方式、请求头等信息进行逻辑判断。true 表示匹配成功,进行路由转发;false 表示匹配失败,返回 404。
可以参考 Spring Gateway 已有的路由断言工厂 HostRoutePredicateFactory、HeaderRoutePredicateFactory、PathRoutePredicateFactory 等来写。
// 1、必须是 Spring 组件 Bean:@Component
// 2、类必须加上 RoutePredicateFactory 作为结尾:AuthorizationRoutePredicateFactory
// 3、必须继承 AbstractRoutePredicateFactory
@Component
public class AuthorizationRoutePredicateFactory extends AbstractRoutePredicateFactory<AuthorizationRoutePredicateFactory.Config> {public AuthorizationRoutePredicateFactory() {super(Config.class);}// 5、如果配置信息是逗号隔开的数组,这个方法不能少public ShortcutConfigurable.ShortcutType shortcutType() {return ShortcutType.GATHER_LIST;}// 5、需要结合 shortcutFieldOrder 进行绑定public List<String> shortcutFieldOrder() {return Collections.singletonList("auths");}// 6、重写 apply 方法@Overridepublic Predicate<ServerWebExchange> apply(Config config) {final boolean hasList = !ObjectUtils.isEmpty(config.auths);return new GatewayPredicate() {@Overridepublic boolean test(ServerWebExchange exchange) {// 拿到请求头配置的 Authorization 字段值List<String> values = exchange.getRequest().getHeaders().getOrDefault("Authorization", Collections.emptyList());if (values.isEmpty()) {return false;} else if (hasList) {for (String value : values) {// 判单请求中是否包含配置的权限if (config.auths.contains(value)) {return true;}}return false;} else {return true;}}public String toString() {return String.format("Authorization= %s", config.auths);}};}// 4、必须声明静态内部类@Validatedpublic static class Config {// 4、声明属性来接收配置文件中对应的断言的信息// 接收 Authorization= 后面的 user.add,user.get,user.delete,user.update 信息private @NotEmpty List<String> auths = new ArrayList<>();public Config() {}public @NotEmpty List<String> getAuths() {return auths;}public Config setAuths(List<String> auths) {this.auths = auths;return this;}public Config setAuths(String... auths) {this.auths = Arrays.asList(auths);return this;}}
} 
八、过滤器工厂(GatewayFilter Factories)
路由过滤器允许以某种方式修改传入的 HTTP 请求或传出的 HTTP 响应。路由过滤器作用于特定的路由。Spring Cloud Gateway 包含许多内置的过滤器工厂。
8.1、AddRequestHeaderGatewayFilterFactory
为原始请求添加Header。接收两个参数,Header 字段名和字段值。
spring:cloud:gateway:routes:- id: user_routeuri: lb://user-servicepredicates:- Path=/user-service/**filters:- StripPrefix=1- AddRequestHeader=Authorization,feign123请求到达 Gateway,在请求头增加 Authorization=feign123,在 user 校验这个 token
@RestController
@RequestMapping("/user")
public class UserController {@Value("${server.port}")private String port;@RequestMapping("/findUserNeedAuth/{id}")public String findUserNeedAuth(@PathVariable String id, @RequestHeader("Authorization") String token) {if (StringUtils.isBlank(token)) {throw new IllegalArgumentException("参数缺失!");}// 校验tokenif (!"feign123".equals(token)) {throw new  IllegalArgumentException("token错误!");}// 模拟从数据库获取用户Map<String, String> map = new HashMap<>();map.put("1", "小林:"+port);map.put("2", "小王:"+port);return map.get(id);}
} 
8.2、AddRequestParameterGatewayFilterFactory
为原始请求添加请求参数。接收两个参数,参数名称和值。
spring:cloud:gateway:routes:- id: user_routeuri: lb://user-servicepredicates:- Path=/user-service/**filters:- StripPrefix=1- AddRequestParameter=source,gateway@RestController
@RequestMapping("/user")
public class UserController {@Value("${server.port}")private String port;@RequestMapping("/echo")public String echo(@RequestParam("source") String source) {return port + " 收到 " + source + " 转发过来的请求";}
} 
8.3、PrefixPathGatewayFilterFactory
为原始请求路径添加前缀。接收一个参数,前缀路径。
假设我们现在 user 模块配置了请求上下文路径。
server:port: 8020servlet:context-path: /mall4user请求路径为 http://localhost:8020/mall4user/user/findUserById/1
  
网关想继续能转发请求成功,则需要:
spring:cloud:gateway:routes:- id: user_routeuri: lb://user-servicepredicates:- Path=/user-service/**filters:- StripPrefix=1- PrefixPath=/mall4userhttp://localhost:8050/user-service/user/findUserById/1
  
http://localhost:8050/user-service/user/findUserById/1
请求到达网关,先经过 StripPrefix 过滤器,变为:
http://localhost:8050/user/findUserById/1
再经过 PrefixPath 过滤器,变为:
http://localhost:8050/mall4user/user/findUserById/1
最后经过 ReactiveLoadBalancerClientFilter 全局过滤器,根据负载均衡策略,
将请求转发到
http://localhost:8020/mall4user/user/findUserById/1 或
http://localhost:8021/mall4user/user/findUserById/1
九、自定义过滤器工厂
假设现在我们需要统计某一个微服务的访问量,并将统计数据存放到 Redis。
我们看看在这个场景下,用自定义过滤器工厂怎么来实现。
9.1、引入 Redis 依赖
- pom.xml
<!-- redis 场景启动器-->
<dependency><groupId>org.springframework.boot</groupId><artifactId>spring-boot-starter-data-redis</artifactId>
</dependency>- application.yml
spring:redis:host: localhostport: 6379- RedisConfig
@Configuration
public class RedisConfig {/*** 配置 Redis 连接工厂* @return LettuceConnectionFactory 实例*/@Beanpublic RedisConnectionFactory redisConnectionFactory() {// 使用 Lettuce 作为 Redis 客户端创建连接工厂return new LettuceConnectionFactory();}/*** 配置 RedisTemplate* @param redisConnectionFactory Redis 连接工厂* @return RedisTemplate 实例*/@Beanpublic RedisTemplate<String, Object> redisTemplate(RedisConnectionFactory redisConnectionFactory) {RedisTemplate<String, Object> template = new RedisTemplate<>();// 设置连接工厂template.setConnectionFactory(redisConnectionFactory);// 设置键的序列化器为 StringRedisSerializertemplate.setKeySerializer(new StringRedisSerializer());// 设置值的序列化器为 GenericJackson2JsonRedisSerializer,支持 JSON 序列化template.setValueSerializer(new GenericJackson2JsonRedisSerializer());// 设置哈希键的序列化器为 StringRedisSerializertemplate.setHashKeySerializer(new StringRedisSerializer());// 设置哈希值的序列化器为 GenericJackson2JsonRedisSerializertemplate.setHashValueSerializer(new GenericJackson2JsonRedisSerializer());// 初始化模板template.afterPropertiesSet();return template;}
}9.2、步骤
跟自定义路由断言工厂类似,自定义过滤器工厂步骤如下:
- 必须是 Spring 组件 Bean。
- 类必须加上 GatewayFilterFactory 作为结尾。
- 必须继承 AbstractGatewayFilterFactory。
- 必须声明静态内部类,声明属性来接收配置文件中对应的断言的信息。
- 需要结合 shortcutFieldOrder 进行绑定。
- 重写 apply 方法。
@Component
public class RequestStatsGatewayFilterFactory extends AbstractGatewayFilterFactory<RequestStatsGatewayFilterFactory.Config> {public RequestStatsGatewayFilterFactory() {super(Config.class);}@Autowiredprivate RedisTemplate<String, Object> redisTemplate;public List<String> shortcutFieldOrder() {return Collections.singletonList("service");}@Overridepublic GatewayFilter apply(Config config) {return (exchange, chain) -> {Long count = redisTemplate.opsForValue().increment(config.service);System.out.println(count);return chain.filter(exchange);};}public static class Config {private String service;public Config() {}public String getService() {return service;}public void setService(String service) {this.service = service;}}
}9.3、配置路由过滤器
server:port: 8050spring:application:name: api-gatewaycloud:nacos:discovery:username: nacospassword: nacosgroup: DEFAULT_GROUPserver-addr: 127.0.0.1:8848gateway:routes:- id: user_routeuri: lb://user-servicepredicates:- Path=/user-service/**filters:- StripPrefix=1- RequestStats=user-service # 自定义路由过滤器redis:host: localhostport: 63799.4、访问测试
在浏览器中多次访问 http://localhost:8050/user-service/user/findUserById/1

Redis 统计数据:

十、全局过滤器
全局过滤器:针对所有路由请求,一旦定义就会投入使用。

10.1、ReactiveLoadBalancerClientFilter
负载均衡过滤器,它主要是做两件事情:
- 判断请求路径是否 lb 开头
- 调用负载均衡器实现进行负载均衡的请求。
spring:    gateway:routes:- id: user_routeuri: lb://user-servicepredicates:- Path=/user-service/**
十一、自定义全局过滤器
11.1、调用时长统计
假设我们现在需要统计每一次调用的处理时长。
我们看看在这个场景下,用自定义全局过滤器怎么来实现。
- 引入 Lombok 依赖
<dependency><groupId>org.projectlombok</groupId><artifactId>lombok</artifactId><scope>provided</scope>
</dependency>- 代码实现
@Slf4j
@Component
public class ProcessingTimeGlobalFilter implements GlobalFilter, Ordered {private static final String PROCESSING_START_TIME = "processingStartTime";@Overridepublic Mono<Void> filter(ServerWebExchange exchange, GatewayFilterChain chain) {exchange.getAttributes().put(PROCESSING_START_TIME, System.currentTimeMillis());return chain.filter(exchange).then(Mono.fromRunnable(() -> {Long startTime = exchange.getAttribute(PROCESSING_START_TIME);if (startTime != null) {long endTime = (System.currentTimeMillis() - startTime);log.info("{}耗时: {}ms", exchange.getRequest().getPath(), endTime);}}));}@Overridepublic int getOrder() {// 最低优先级,在过滤器链中最晚执行,统计结果更接近微服务的处理时长。return Ordered.LOWEST_PRECEDENCE;}
}
- 自定义全局过滤器不用配置在路由中
只要实现 GlobalFilter 接口,并声明为 Spring Bean (@Component),GatewayAutoConfiguration 自动装配的时候,就会把 List<GlobalFilter> 列表注入 FilteringWebHandler 以便后续处理。
public class GatewayAutoConfiguration {@Beanpublic FilteringWebHandler filteringWebHandler(List<GlobalFilter> globalFilters) {return new FilteringWebHandler(globalFilters);} }
- 适配器模式
FilteringWebHandler 持有的是 GatewayFilter 类型列表,而传入的是 GlobalFilter 类型列表。这里用到适配器模式。
// 实现目标接口 GatewayFilter private static class GatewayFilterAdapter implements GatewayFilter {// 持有真实接口实例private final GlobalFilter delegate;GatewayFilterAdapter(GlobalFilter delegate) {this.delegate = delegate;}public Mono<Void> filter(ServerWebExchange exchange, GatewayFilterChain chain) {// 请求委托给真实接口实例return this.delegate.filter(exchange, chain);}public String toString() {StringBuilder sb = new StringBuilder("GatewayFilterAdapter{");sb.append("delegate=").append(this.delegate);sb.append('}');return sb.toString();} }
- 实现 Ordered 接口
因为过滤器是在过滤器链里面执行的,所以需要实现 Ordered 接口以决定它在过滤器链中的执行顺序。
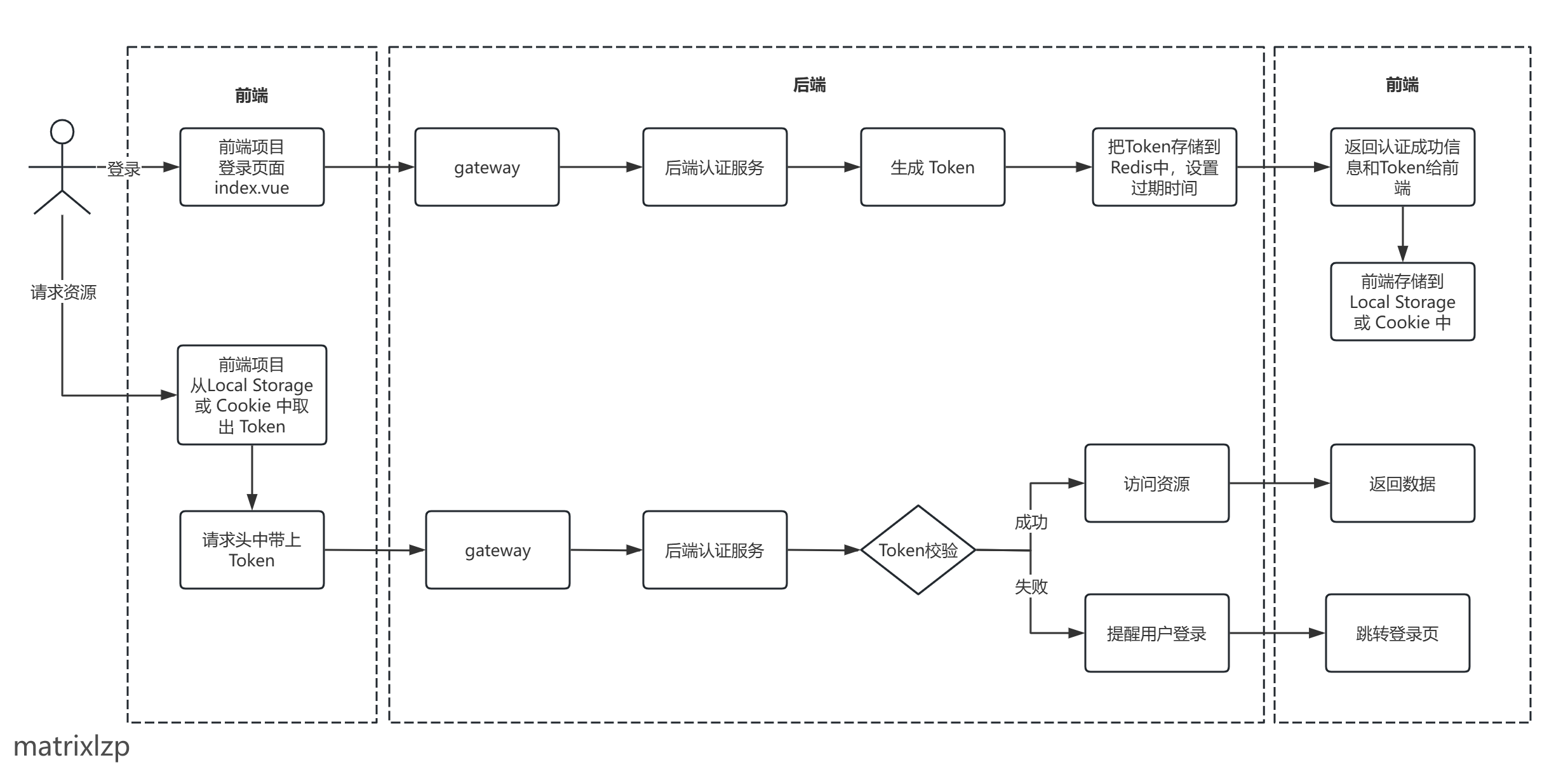
11.2、Token 校验
前后端分离的 Token 校验过程:

- WebClientConfig
@Configuration
public class WebClientConfig {@Bean@LoadBalanced // 关键注解,启用负载均衡public WebClient.Builder webClientBuilder() {return WebClient.builder();}
}新版的 Gateway 已经全面接入 WebFlux,所以 gateway -> 后端认证服务 的调用最好使用 WebClient 这种非阻塞 API。
- application.yml
server:port: 8050spring:application:name: api-gatewaycloud:nacos:discovery:username: nacospassword: nacosgroup: DEFAULT_GROUPserver-addr: 127.0.0.1:8848gateway:routes:- id: user_routeuri: lb://user-servicepredicates:- Path=/user-service/**filters:- StripPrefix=1- RequestStats=user-serviceredis:host: localhostport: 6379custom: # 自定义不校验 token 路径token:ignore:paths:- /user-service/user/login- 自定义全局过滤器
@Slf4j
@Component
@ConfigurationProperties(prefix = "custom.token.ignore")
public class TokenValidateGlobalFilter implements GlobalFilter, Ordered {@Setterprivate List<String> paths;private final AntPathMatcher antPathMatcher = new AntPathMatcher();private final WebClient webClient;// 通过构造器注入WebClientpublic TokenValidateGlobalFilter(WebClient.Builder webClientBuilder) {this.webClient = webClientBuilder.baseUrl("http://user-service").build();}@Overridepublic Mono<Void> filter(ServerWebExchange exchange, GatewayFilterChain chain) {ServerHttpRequest request = exchange.getRequest();String path = request.getURI().getPath();// 是否忽略路径:false-不忽略,true-忽略boolean ignorePath = this.ignorePath(path);if (ignorePath) {return chain.filter(exchange).ignoreElement();} else {// 1. 从请求头获取tokenString token = request.getHeaders().getFirst(HttpHeaders.AUTHORIZATION);// 2. 如果没有token,直接返回401if (token == null || !token.startsWith("Bearer ")) {exchange.getResponse().setStatusCode(HttpStatus.UNAUTHORIZED);return exchange.getResponse().setComplete();}// 提取纯token(去掉Bearer前缀)String strToken = token.substring(7);// 3. 调用用户服务验证tokenreturn webClient.get().uri("/user/validateToken?token={token}", strToken).retrieve().bodyToMono(Boolean.class).flatMap(resp -> {if (resp) {// 4. token验证成功,继续过滤器链return chain.filter(exchange);} else {// 5. token验证失败,返回401ServerHttpResponse response = exchange.getResponse();byte[] bits = HttpStatus.UNAUTHORIZED.getReasonPhrase().getBytes();DataBuffer buffer = response.bufferFactory().wrap(bits);response.setStatusCode(HttpStatus.UNAUTHORIZED);response.getHeaders().add(HttpHeaders.CONTENT_TYPE, MediaType.APPLICATION_JSON_UTF8_VALUE);return response.writeWith(Mono.just(buffer));}}).onErrorResume(e -> {log.error("报错", e);// 6. 调用用户服务失败时的处理exchange.getResponse().setStatusCode(HttpStatus.UNAUTHORIZED);return exchange.getResponse().setComplete();});}}/*** 是否忽略路径** @param path 请求路径* @return false 不忽略,true 忽略*/private boolean ignorePath(String path) {boolean result = false;for (String source : paths) {result = antPathMatcher.matchStart(source, path);if (result) {break;}}return result;}@Overridepublic int getOrder() {return -1;}}- UserController
    @RequestMapping("/validateToken")public ResponseEntity<Boolean> validateToken(@RequestParam String token) {// 这里实现你的token验证逻辑// 可以使用 JWT 或者任何你想要的方式// 这里简单演示,就写一个固定的UUIDboolean isValid = "8216f4b7-8aa8-4a1c-84eb-4ab89d3b2785".equals(token);return ResponseEntity.ok(isValid);}- 访问测试
没有 token 时:

有 token 时:





